دنیای بازی
دنیای بازی ویرایشگر

وبسایت خبری تحلیلی دنیای بازی

Dbazi.com
عضویت از ۰۸ مهر ۱۳۹۴
---
هوآوی به پیشتازی خود در تجهیزات مخابراتی ادامه می‌دهد
توسط دنیای بازی در 1819 روز قبل
0

بر اساس آمارهای جدید ارائه‌شده از سوی مراکز مختلف هواوی موفق شده است جایگاه نخست تولیدکنندگان تجهیزات مخابراتی در سال‌های ۲۰۱۹ و سه فصل از سال ۲۰۲۰ میلادی را به خود اختصاص دهد. شرکت هواوی را باید به عنوان یکی از پیشتازان صنعت تجهیزات مخابراتی معرفی کرد که توانسته نقش بسیار مهمی در زمینه توسعه […]

تجهیزات مخابراتی هوآوی اخبار بازی
سرگرمی و آموزش با تبلت‌های سری Matepad هوآوی
توسط دنیای بازی در 1820 روز قبل
0

یکی از ویژگی‌هایی که هوآوی در تبلت‌های سری Matepad خود روی آن تمرکز کرده امکانات کاربردی برای کودکان است که تحت برنامه مخصوصی به نام Kids Corner ارائه می‌شود. این برنامه امکان استفاده از محتوای مخصوص کودک، قابلیت‌های مدیریت کاربری و بسیاری قابلیت‌های دیگر را فراهم می‌کند. واژه انگلیسی Edutainment یک واژه ترکیبی است که […]

تبلت های سری Matepad هوآوی اخبار بازی
هوآوی همچنان در رتبه دوم جهانی فروش گوشی هوشمند
توسط دنیای بازی در 1823 روز قبل
0

آخرین گزارش‌های به‌دست آمده از بازارهای جهانی گوشی هوشمند نشان می‌دهد که هوآوی همچنان در جایگاه دوم میزان فروش ایستاده است. این شرکت با در اختیار داشتن ۱۴.۶ درصد سهم از بازار جهانی، موفق به قرارگیری در مقام دوم بعد از رقیب کره‌ای خود شده است. جدول زیر دیدی کلی از وضعیت بازار گوشی هوشمند […]

فروش گوشی هوشمند اخبار بازی
دمای بدن خود را با مدل پورشه دیزاین هوآوی Mate 40 RS کنترل کنید
توسط دنیای بازی در 1824 روز قبل
0

مدل پورشه دیزاین آخرین پرچمدار هوآوی یعنی Mate 40 RS از ویژگی هوشمندانه‌ دماسنج برخوردار است که در برهه کنونی کارایی بسیاری دارد. یک پتنت ثبت‌شده‌ی جدید هم نشان می‌دهد که قرار است گوشی‌های موبایل بیشتری از این فناوری استفاده کنند.

هوآوی Mate 40 RS اخبار بازی
لپ‌تاپ هوآوی MateBook X به ظرافت چند برگ کاغذ
توسط دنیای بازی در 1827 روز قبل
0

جدیدترین پرچم‌دار هوآوی در بخش لپ‌تاپ، Huawei Matebook X است که محصولی خاص، برای صاحبان کسب و کارها و اصولا تمام کسانی است که خواهان لپ‌تاپی قدرتمند و در عین حال ظریف هستند. چرخه‌ی عمر کامپیوترهای شخصی به اندازه‌ی عمر گوشی‌های موبایل کوتاه نیست. به صورت میانگین، مصرف‌کنندگان، گوشی‌های موبایل‌شان را تقریبا هر دو سال […]

لپ‌تاپ هوآوی MateBook X اخبار بازی
هوآوی به لطف سری Huawei Watch بیشترین سهم بازار از محصولات پوشیدنی را در اختیار دارد
توسط دنیای بازی در 1828 روز قبل
0

هواوی از ابتدای فعالیت خود پایبند و متعهد به تولید محصولات نوآورانه برای کاربران بوده است. این شرکت توانایی ساخت و فناوری ویژه‌ای در زمینه‌ی عمر باتری دارد و در قابلیت‌های مربوط به سلامت و ورزش فعالیت قابل توجه‌ای داشته است. ترکیب این دو مزیت باعث شده که بتواند گستره‌ای از محصولات رقابتی را تولید […]

سری Huawei Watch هوآوی اخبار بازی
هوآوی در دوربین گوشی پرچمدار بعدی خود از لنز مایع استفاده خواهد کرد
توسط دنیای بازی در 1828 روز قبل
0

تداوم هواوی در ارائه تکنولوژی‌های جدید و نوآورانه در تولید گوشی‌های هوشمند و بخصوص در بخش دوربین، تبدیل به یک سنت در صنعت گوشی هوشمند شده است. حالا خبرها از یک نوآوری جذاب دیگر در پرچمدارهای آتی این شرکت حکایت دارند.   آخرین پرچمدار هوآوی یعنی گوشی هوشمند Huawei Mate 40 دارای بزرگ‌ترین حسگر CMOS […]

دوربین گوشی پرچمدار بعدی هوآوی اخبار بازی
انتشار پنتت جدید هوآوی برای ساخت گوشی هوشمند تاشو
توسط دنیای بازی در 1828 روز قبل
0

در چند سال اخیر تولید و عرضه گوشی‌های تاشو تبدیل به جدیدترین حوزه رقابتی برای سازندگان گوشی‌های هوشمند شده است و مدل‌های مختلفی از این نوع گوشی‌ها توسط سازندگان مختلف روانه بازار شده است. هواوی نیز در این حوزه دستی بر آتش دارد و با ارائه مدل‌های Mate X و Mate Xs یکی از پیشتازان […]

پنتت جدید هوآوی برای ساخت گوشی هوشمند تاشو اخبار بازی
بررسی Petal Maps هوآوی؛ راهی جدید برای کشف دنیا
توسط دنیای بازی در 1828 روز قبل
0

«پتال مپس» (Petal Maps) برنامه اختصاصی جدید هوآوی است که امکان مسیریابی و یافتن موقعیت جغرافیایی را به راحتی برای کاربر فراهم می‌کند. امروزه صنعت گوشی هوشمند یکی از پیشرفته‌ترین صنایع دنیا است که از مجموعه فناوری‌های خرد و کلان متفاوتی تشکیل شده است. تقریبا هیچ شرکتی در دنیا نیست که  در تمام زمینه‌ها استقلال […]

Petal Maps هوآوی اخبار بازی
هوآوی برنده چند جایزه بین‌المللی دیگر شد
توسط دنیای بازی در 1829 روز قبل
0

به دلیل همکاری‌هایی که شرکت هوآوی با بانک توسعه سنگاپور در زمینه راه‌اندازی سیستم‌های پرداخت دیجیتالی جهت افزایش کیفیت پرداخت الکترونیک و رضایتمندی مشتریان داشت،  بانک DBS  از هوآوی  به عنوان با ارزش‌ترین شریک فناوری سال ۲۰۲۰  تقدیر کرد. تیم هوآوی جهت تکمیل سیستم پرداخت الکترونیک و ایجاد تحول دیجیتال در بانک DBS، به خصوص […]

هواوی برنده جایزه بین المللی اخبار بازی
نگاهی به گوشی جدید هوآوی Y9a؛ مهمان جدید بازار موبایل کشور
توسط دنیای بازی در 1829 روز قبل
0

گوشی هوآوی Y9a یکی از گوشی‌های سال ۲۰۲۰ هوآوی است که با طراحی منحصر به فرد خود، می‌تواند سایر گوشی‌های میان‌رده بازار را کنار بزند. نمایشگر تمام‌صفحه؛ بدون ناچ و حاشیه گوشی Y9a Huawei از یک صفحه نمایش ۶.۶۳ اینچی Ultra FullView Display استفاده می‌کند که بدون ناچ و حاشیه است. این صفحه نمایش ۹۲ […]

هواوی Y9a اخبار بازی
هوآوی با هدفون FreeBuds Studio به جنگ رقیبان بزرگ می‌رود
توسط دنیای بازی در 1829 روز قبل
0

هوآوی اولین هدفون روی گوشی خود را با نام FreeBuds Studio معرفی عرضه کرده است. این هدفون هوآوی به قابلیت حذف فعال نویز محیطی مجهز شده است و می‌تواند تا ۲۴ ساعت بی‌وقفه موسیقی پخش کند. هوآوی در مراسم معرفی گوشی هوشمند Huawei Mate 40 از تعدادی محصول جانبی هم رونمایی کرد. یکی از این […]

هدفون FreeBuds Studio اخبار بازی
با عینک هوشمند هوآوی Eyewear II آشنا شوید؛ محصولی از آینده
توسط دنیای بازی در 1830 روز قبل
0

عینک هوآوی Eyewear II یکی از محصولات جدید و نوآورانه است که امکان گوش دادن به موسیقی بدون نیاز به هدفون را برای کاربر میسر کرده و از امکانات کنترلی پیشرفته‌ای بهره می‌برد. به کمک این عینک می‌توان از گوشی هوشمند در محیط خارجی، کمتر استفاده کرده و از زیبایی طراحی این عینک نیز لذت […]

عینک هوشمند هوآوی Eyewear II اخبار بازی
رشد پرسرعت سازگاری اپ‌های مهم ایرانی با سرویس‌های موبایلی هوآوی
توسط دنیای بازی در 1832 روز قبل
0

طی چند ماه اخیر، سرویس‌های موبایلی هوآوی به عنوان یک اکوسیستم رو به رشد، توانسته سرعت رشد قابل توجهی را تجربه کند. با انتشار نسخه سازگار اپلیکیشن‌های مطرح تپسی و در آینده نزدیک اسنپ تقریبا تمام اپ‌های مهم و پرکاربرد ایرانی بدون هیچ محدودیتی روی این اکوسیستم کار می‌کنند. شب گذشته در رویداد آنلاین هوآوی، […]

اپ های مهم ایرانی اخبار بازی
گوشی Huawei Y9a و تبلت‌های جدید هوآوی برای بازار ایران معرفی شدند
توسط دنیای بازی در 1834 روز قبل
0

رویداد آنلاین هوآوی برای معرفی محصولات آینده خود در بازار ایران برگزار شد. این رویداد که با رونمایی از جدیدترین مدل سری Y هوآوی یعنی گوشی Y9a همراه بود، علاوه برآن از دو مدل از تبلت‌های جدید این شرکت که در راه بازار هستند نیز رونمایی شد. این مراسم با اجرای نسبتا طولانی کاوه آفاق […]

گوشی Huawei Y9a اخبار بازی
گوشی Mate 40 Pro سریع‌ترین و سبزترین پرچم‌دار هوآوی است
توسط دنیای بازی در 1835 روز قبل
0

هواوی با کم کردن ۲۸ درصد از پلاستیک استفاده شده در بسته‌بندی Huawei Mate 40 Pro، میزان استفاده از پلاستیک را به حداقل رسانده است. همچنین میزان استفاده از کاغذ در دفترچه‌های راهنما نیز به حداقل رسیده است. هواوی چند هفته پیش از آخرین گوشی موبایل پرچم‌دارش رونمایی کرد و قوی‌ترین عضو خانواده‌ی Huawei Mate […]

گوشی Mate 40 Pro اخبار بازی
رویداد آنلاین هوآوی اخبار بازی
رویداد آنلاین هوآوی برای معرفی محصولات جدید این شرکت در ایران برگزار می‌شود [پخش زنده]
توسط دنیای بازی در 1836 روز قبل
13

رویداد آنلاین هوآوی برای معرفی محصولات جدید از جمله گوشی‌های هوشمند، تبلت‌ها و سایر خدمات این شرکت روز چهارشنبه، ۵ آذر در ساعت ۲۰:۰۰ برگزار خواهد شد. این رویداد به رونمایی و معرفی محصولاتی که با گارانتی در ایران عرضه می‌شوند، اختصاص دارد. علاوه بر آن در رابطه با آخرین به‌روزرسانی‌های انجام شده درباره اکوسیستم […]

ترکیب شگفت‌انگیز EMUI 11 و Petal Search هوآوی، برای تجربه‌ای جذاب
توسط دنیای بازی در 1837 روز قبل
0

در جریان رویداد آنلاینی که هوآوی برای معرفی جهانی گوشی‌های سری Mate 40  ترتیب داده بود، بخشی نیز به معرفی و نمایش دستاوردهای این شرکت در رابط کاربری EMUI 11  اختصاص داشت. همچنین برنامه Petal Search نیز به صورت رسمی معرفی شد که به عنوان یک دستیار نرم‌افزاری، قابلیت‌های بسیاری دارد.  می‌خواهیم یک بررسی کلی […]

ترکیب شگفت‌انگیز EMUI 11 و Petal Search اخبار بازی
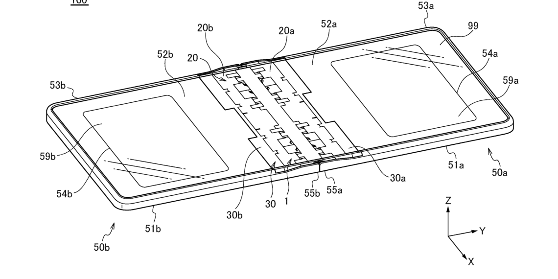
استفاده از پردازنده‌ی Kirin 9000 در گوشی هوآوی Huawei Mate X2
توسط دنیای بازی در 1838 روز قبل
0

به تازگی دو مدل از گوشی‌های هواوی موفق به دریافت گواهینامه‌ی چینیC3  شدند. با استناد به اطلاعات این گواهینامه‌، این دو دستگاه با شماره مدل۰۰ TET-AN و۱۰ TET-ANعرضه خواهند شد. هر دوی این دستگاه‌ها مجهز به فناوری 5G هستند. علاوه بر این، این تلفن‌های همراه از آخرین نسل فناوری شارژ سریع ۶۶ واتی هواوی نیز […]

شرکت هوآوی (Huawei) اخبار بازی
موردی پیدا نشد.
دنیای بازی

دنیای بازی

ویرایشگر
Dbazi.com
عضویت از ۰۸ مهر ۱۳۹۴
---

وبسایت خبری تحلیلی دنیای بازی

هوآوی به پیشتازی خود در تجهیزات مخابراتی ادامه می‌دهد
توسط دنیای بازی در 1819 روز قبل
0

بر اساس آمارهای جدید ارائه‌شده از سوی مراکز مختلف هواوی موفق شده است جایگاه نخست تولیدکنندگان تجهیزات مخابراتی در سال‌های ۲۰۱۹ و سه فصل از سال ۲۰۲۰ میلادی را به خود اختصاص دهد. شرکت هواوی را باید به عنوان یکی از پیشتازان صنعت تجهیزات مخابراتی معرفی کرد که توانسته نقش بسیار مهمی در زمینه توسعه […]

تجهیزات مخابراتی هوآوی اخبار بازی
سرگرمی و آموزش با تبلت‌های سری Matepad هوآوی
توسط دنیای بازی در 1820 روز قبل
0

یکی از ویژگی‌هایی که هوآوی در تبلت‌های سری Matepad خود روی آن تمرکز کرده امکانات کاربردی برای کودکان است که تحت برنامه مخصوصی به نام Kids Corner ارائه می‌شود. این برنامه امکان استفاده از محتوای مخصوص کودک، قابلیت‌های مدیریت کاربری و بسیاری قابلیت‌های دیگر را فراهم می‌کند. واژه انگلیسی Edutainment یک واژه ترکیبی است که […]

تبلت های سری Matepad هوآوی اخبار بازی
هوآوی همچنان در رتبه دوم جهانی فروش گوشی هوشمند
توسط دنیای بازی در 1823 روز قبل
0

آخرین گزارش‌های به‌دست آمده از بازارهای جهانی گوشی هوشمند نشان می‌دهد که هوآوی همچنان در جایگاه دوم میزان فروش ایستاده است. این شرکت با در اختیار داشتن ۱۴.۶ درصد سهم از بازار جهانی، موفق به قرارگیری در مقام دوم بعد از رقیب کره‌ای خود شده است. جدول زیر دیدی کلی از وضعیت بازار گوشی هوشمند […]

فروش گوشی هوشمند اخبار بازی
دمای بدن خود را با مدل پورشه دیزاین هوآوی Mate 40 RS کنترل کنید
توسط دنیای بازی در 1824 روز قبل
0

مدل پورشه دیزاین آخرین پرچمدار هوآوی یعنی Mate 40 RS از ویژگی هوشمندانه‌ دماسنج برخوردار است که در برهه کنونی کارایی بسیاری دارد. یک پتنت ثبت‌شده‌ی جدید هم نشان می‌دهد که قرار است گوشی‌های موبایل بیشتری از این فناوری استفاده کنند.

هوآوی Mate 40 RS اخبار بازی
لپ‌تاپ هوآوی MateBook X به ظرافت چند برگ کاغذ
توسط دنیای بازی در 1827 روز قبل
0

جدیدترین پرچم‌دار هوآوی در بخش لپ‌تاپ، Huawei Matebook X است که محصولی خاص، برای صاحبان کسب و کارها و اصولا تمام کسانی است که خواهان لپ‌تاپی قدرتمند و در عین حال ظریف هستند. چرخه‌ی عمر کامپیوترهای شخصی به اندازه‌ی عمر گوشی‌های موبایل کوتاه نیست. به صورت میانگین، مصرف‌کنندگان، گوشی‌های موبایل‌شان را تقریبا هر دو سال […]

لپ‌تاپ هوآوی MateBook X اخبار بازی
هوآوی به لطف سری Huawei Watch بیشترین سهم بازار از محصولات پوشیدنی را در اختیار دارد
توسط دنیای بازی در 1828 روز قبل
0

هواوی از ابتدای فعالیت خود پایبند و متعهد به تولید محصولات نوآورانه برای کاربران بوده است. این شرکت توانایی ساخت و فناوری ویژه‌ای در زمینه‌ی عمر باتری دارد و در قابلیت‌های مربوط به سلامت و ورزش فعالیت قابل توجه‌ای داشته است. ترکیب این دو مزیت باعث شده که بتواند گستره‌ای از محصولات رقابتی را تولید […]

سری Huawei Watch هوآوی اخبار بازی
هوآوی در دوربین گوشی پرچمدار بعدی خود از لنز مایع استفاده خواهد کرد
توسط دنیای بازی در 1828 روز قبل
0

تداوم هواوی در ارائه تکنولوژی‌های جدید و نوآورانه در تولید گوشی‌های هوشمند و بخصوص در بخش دوربین، تبدیل به یک سنت در صنعت گوشی هوشمند شده است. حالا خبرها از یک نوآوری جذاب دیگر در پرچمدارهای آتی این شرکت حکایت دارند.   آخرین پرچمدار هوآوی یعنی گوشی هوشمند Huawei Mate 40 دارای بزرگ‌ترین حسگر CMOS […]

دوربین گوشی پرچمدار بعدی هوآوی اخبار بازی
انتشار پنتت جدید هوآوی برای ساخت گوشی هوشمند تاشو
توسط دنیای بازی در 1828 روز قبل
0

در چند سال اخیر تولید و عرضه گوشی‌های تاشو تبدیل به جدیدترین حوزه رقابتی برای سازندگان گوشی‌های هوشمند شده است و مدل‌های مختلفی از این نوع گوشی‌ها توسط سازندگان مختلف روانه بازار شده است. هواوی نیز در این حوزه دستی بر آتش دارد و با ارائه مدل‌های Mate X و Mate Xs یکی از پیشتازان […]

پنتت جدید هوآوی برای ساخت گوشی هوشمند تاشو اخبار بازی
بررسی Petal Maps هوآوی؛ راهی جدید برای کشف دنیا
توسط دنیای بازی در 1828 روز قبل
0

«پتال مپس» (Petal Maps) برنامه اختصاصی جدید هوآوی است که امکان مسیریابی و یافتن موقعیت جغرافیایی را به راحتی برای کاربر فراهم می‌کند. امروزه صنعت گوشی هوشمند یکی از پیشرفته‌ترین صنایع دنیا است که از مجموعه فناوری‌های خرد و کلان متفاوتی تشکیل شده است. تقریبا هیچ شرکتی در دنیا نیست که  در تمام زمینه‌ها استقلال […]

Petal Maps هوآوی اخبار بازی
هوآوی برنده چند جایزه بین‌المللی دیگر شد
توسط دنیای بازی در 1829 روز قبل
0

به دلیل همکاری‌هایی که شرکت هوآوی با بانک توسعه سنگاپور در زمینه راه‌اندازی سیستم‌های پرداخت دیجیتالی جهت افزایش کیفیت پرداخت الکترونیک و رضایتمندی مشتریان داشت،  بانک DBS  از هوآوی  به عنوان با ارزش‌ترین شریک فناوری سال ۲۰۲۰  تقدیر کرد. تیم هوآوی جهت تکمیل سیستم پرداخت الکترونیک و ایجاد تحول دیجیتال در بانک DBS، به خصوص […]

هواوی برنده جایزه بین المللی اخبار بازی
نگاهی به گوشی جدید هوآوی Y9a؛ مهمان جدید بازار موبایل کشور
توسط دنیای بازی در 1829 روز قبل
0

گوشی هوآوی Y9a یکی از گوشی‌های سال ۲۰۲۰ هوآوی است که با طراحی منحصر به فرد خود، می‌تواند سایر گوشی‌های میان‌رده بازار را کنار بزند. نمایشگر تمام‌صفحه؛ بدون ناچ و حاشیه گوشی Y9a Huawei از یک صفحه نمایش ۶.۶۳ اینچی Ultra FullView Display استفاده می‌کند که بدون ناچ و حاشیه است. این صفحه نمایش ۹۲ […]

هواوی Y9a اخبار بازی
هوآوی با هدفون FreeBuds Studio به جنگ رقیبان بزرگ می‌رود
توسط دنیای بازی در 1829 روز قبل
0

هوآوی اولین هدفون روی گوشی خود را با نام FreeBuds Studio معرفی عرضه کرده است. این هدفون هوآوی به قابلیت حذف فعال نویز محیطی مجهز شده است و می‌تواند تا ۲۴ ساعت بی‌وقفه موسیقی پخش کند. هوآوی در مراسم معرفی گوشی هوشمند Huawei Mate 40 از تعدادی محصول جانبی هم رونمایی کرد. یکی از این […]

هدفون FreeBuds Studio اخبار بازی
با عینک هوشمند هوآوی Eyewear II آشنا شوید؛ محصولی از آینده
توسط دنیای بازی در 1830 روز قبل
0

عینک هوآوی Eyewear II یکی از محصولات جدید و نوآورانه است که امکان گوش دادن به موسیقی بدون نیاز به هدفون را برای کاربر میسر کرده و از امکانات کنترلی پیشرفته‌ای بهره می‌برد. به کمک این عینک می‌توان از گوشی هوشمند در محیط خارجی، کمتر استفاده کرده و از زیبایی طراحی این عینک نیز لذت […]

عینک هوشمند هوآوی Eyewear II اخبار بازی
رشد پرسرعت سازگاری اپ‌های مهم ایرانی با سرویس‌های موبایلی هوآوی
توسط دنیای بازی در 1832 روز قبل
0

طی چند ماه اخیر، سرویس‌های موبایلی هوآوی به عنوان یک اکوسیستم رو به رشد، توانسته سرعت رشد قابل توجهی را تجربه کند. با انتشار نسخه سازگار اپلیکیشن‌های مطرح تپسی و در آینده نزدیک اسنپ تقریبا تمام اپ‌های مهم و پرکاربرد ایرانی بدون هیچ محدودیتی روی این اکوسیستم کار می‌کنند. شب گذشته در رویداد آنلاین هوآوی، […]

اپ های مهم ایرانی اخبار بازی
گوشی Huawei Y9a و تبلت‌های جدید هوآوی برای بازار ایران معرفی شدند
توسط دنیای بازی در 1834 روز قبل
0

رویداد آنلاین هوآوی برای معرفی محصولات آینده خود در بازار ایران برگزار شد. این رویداد که با رونمایی از جدیدترین مدل سری Y هوآوی یعنی گوشی Y9a همراه بود، علاوه برآن از دو مدل از تبلت‌های جدید این شرکت که در راه بازار هستند نیز رونمایی شد. این مراسم با اجرای نسبتا طولانی کاوه آفاق […]

گوشی Huawei Y9a اخبار بازی
گوشی Mate 40 Pro سریع‌ترین و سبزترین پرچم‌دار هوآوی است
توسط دنیای بازی در 1835 روز قبل
0

هواوی با کم کردن ۲۸ درصد از پلاستیک استفاده شده در بسته‌بندی Huawei Mate 40 Pro، میزان استفاده از پلاستیک را به حداقل رسانده است. همچنین میزان استفاده از کاغذ در دفترچه‌های راهنما نیز به حداقل رسیده است. هواوی چند هفته پیش از آخرین گوشی موبایل پرچم‌دارش رونمایی کرد و قوی‌ترین عضو خانواده‌ی Huawei Mate […]

گوشی Mate 40 Pro اخبار بازی
رویداد آنلاین هوآوی اخبار بازی
رویداد آنلاین هوآوی برای معرفی محصولات جدید این شرکت در ایران برگزار می‌شود [پخش زنده]
توسط دنیای بازی در 1836 روز قبل
13

رویداد آنلاین هوآوی برای معرفی محصولات جدید از جمله گوشی‌های هوشمند، تبلت‌ها و سایر خدمات این شرکت روز چهارشنبه، ۵ آذر در ساعت ۲۰:۰۰ برگزار خواهد شد. این رویداد به رونمایی و معرفی محصولاتی که با گارانتی در ایران عرضه می‌شوند، اختصاص دارد. علاوه بر آن در رابطه با آخرین به‌روزرسانی‌های انجام شده درباره اکوسیستم […]

ترکیب شگفت‌انگیز EMUI 11 و Petal Search هوآوی، برای تجربه‌ای جذاب
توسط دنیای بازی در 1837 روز قبل
0

در جریان رویداد آنلاینی که هوآوی برای معرفی جهانی گوشی‌های سری Mate 40  ترتیب داده بود، بخشی نیز به معرفی و نمایش دستاوردهای این شرکت در رابط کاربری EMUI 11  اختصاص داشت. همچنین برنامه Petal Search نیز به صورت رسمی معرفی شد که به عنوان یک دستیار نرم‌افزاری، قابلیت‌های بسیاری دارد.  می‌خواهیم یک بررسی کلی […]

ترکیب شگفت‌انگیز EMUI 11 و Petal Search اخبار بازی
استفاده از پردازنده‌ی Kirin 9000 در گوشی هوآوی Huawei Mate X2
توسط دنیای بازی در 1838 روز قبل
0

به تازگی دو مدل از گوشی‌های هواوی موفق به دریافت گواهینامه‌ی چینیC3  شدند. با استناد به اطلاعات این گواهینامه‌، این دو دستگاه با شماره مدل۰۰ TET-AN و۱۰ TET-ANعرضه خواهند شد. هر دوی این دستگاه‌ها مجهز به فناوری 5G هستند. علاوه بر این، این تلفن‌های همراه از آخرین نسل فناوری شارژ سریع ۶۶ واتی هواوی نیز […]

شرکت هوآوی (Huawei) اخبار بازی
موردی پیدا نشد.